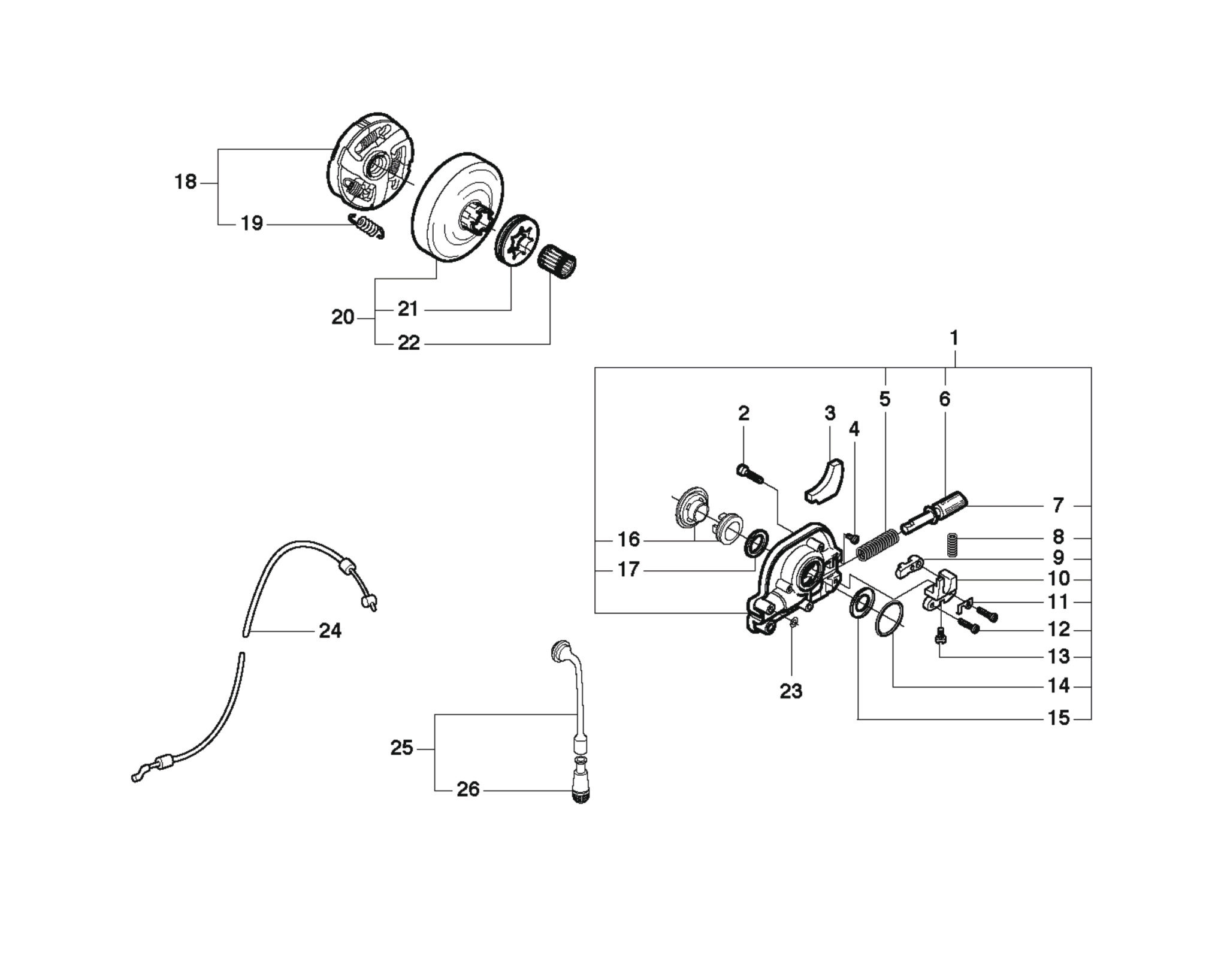
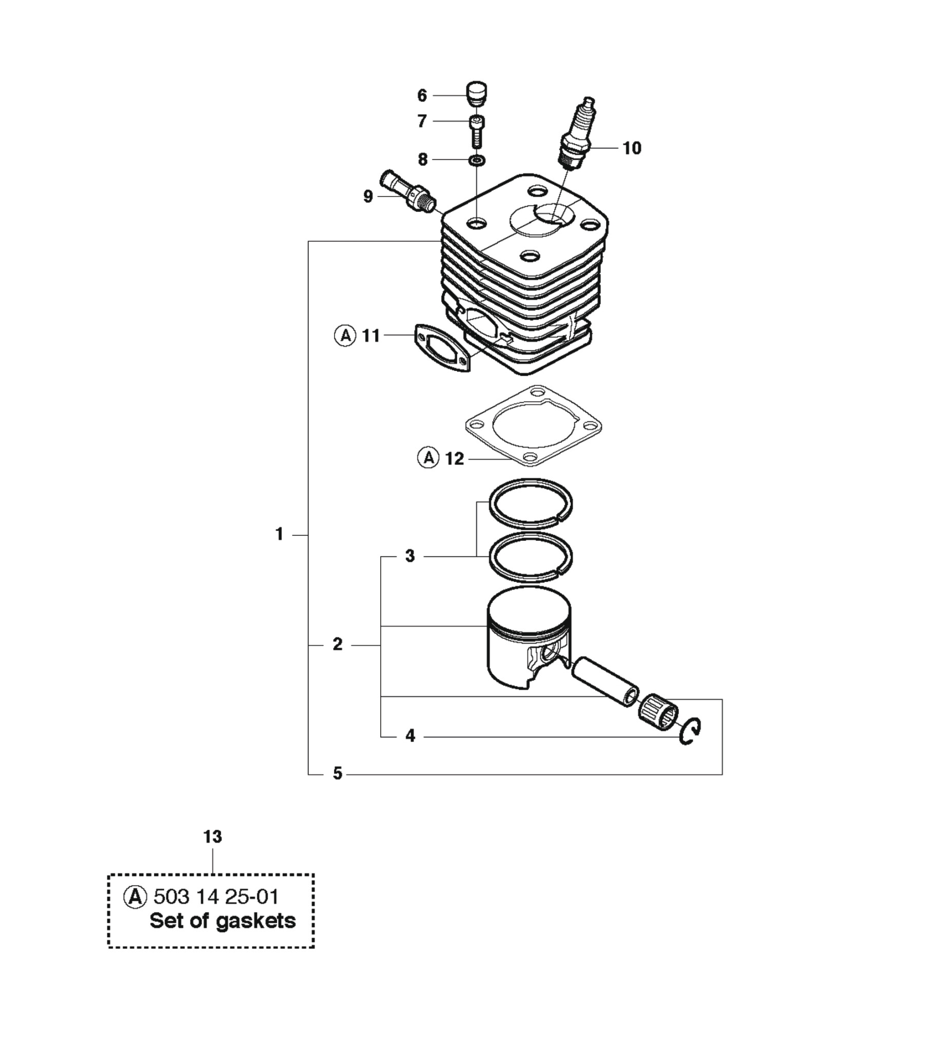
Elige la sección de la cual quieres ver las partes.
Estas son algunas refacciones de este diagrama...
Ver todas las refacciones de este diagrama| Marca | Articulo | Estatus |
|---|---|---|
|
3120XP-42S - MOTOSIERRA HUSQVARNA 3120 XP | Este articulo se encuentra a la venta. |