Diagrama IPL Motosierra Husqvarna 353

Buscador interno
Busca unicamente dentro de las secciones del diagrama y se mostrará el diagrama y la sección a la que pertenece.

Sección CARBURADOR

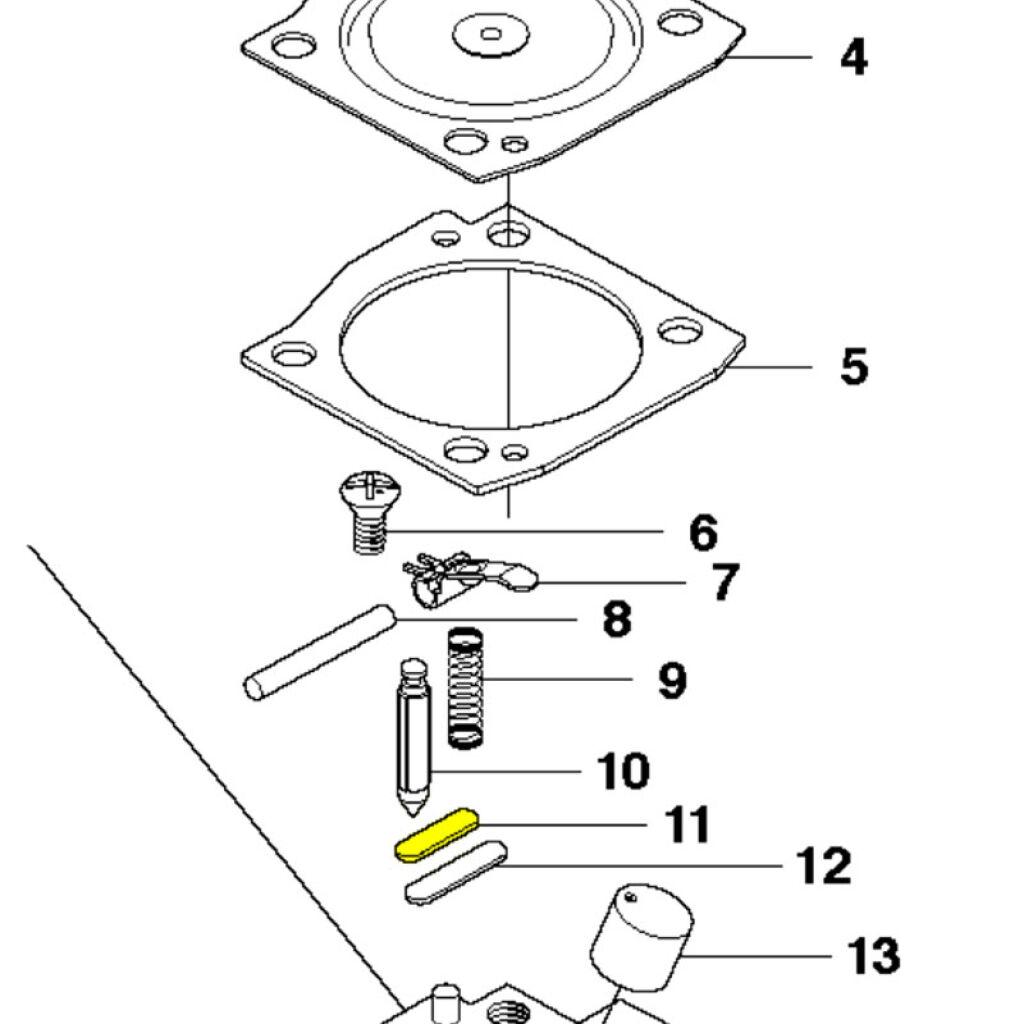
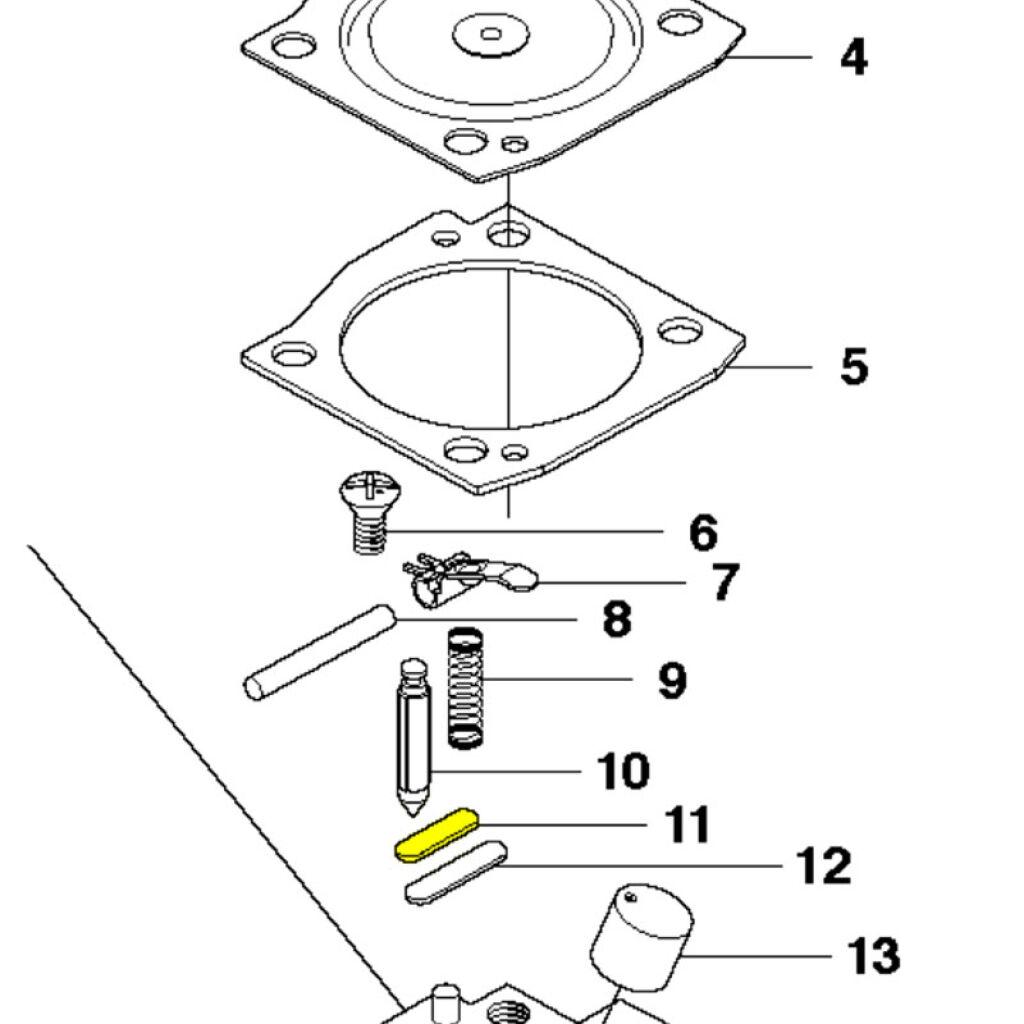
Partes de CARBURADOR
1

Codigo barras

-

Código

-

Codigo fabricante

580740201

Descripcion

CARBURADOR 345E 350 353 ZAMA

Marca

Husqvarna
2

Codigo barras

-

Código

-

Codigo fabricante

503480501

Descripcion

TORNILLO TAPA SUP CARBURADOR 333R/RJ 335RX 343R 343FR 345RX/FX CS2245

Marca

Husqvarna
4

Codigo barras

-

Código

-

Codigo fabricante

537175901

Descripcion

DIAFRAGMA 350 353 ZAMA INFERIOR

Marca

Husqvarna
7

Codigo barras

-

Código

-

Codigo fabricante

537176401

Descripcion

MUELLE CARBURADOR ZAMA 350 353

Marca

Husqvarna
8

Codigo barras

-

Código

-

Codigo fabricante

503480001

Descripcion

PERNO MUELLE CARBURADOR HUSQVARNA 435 445 450 455 556 365

Marca

Husqvarna
9

Codigo barras

-

Código

-

Codigo fabricante

537176301

Descripcion

RESORTE MUELLE CARBURADOR ZAMA 350 353

Marca

Husqvarna
10

Codigo barras

-

Código

-

Codigo fabricante

537176201

Descripcion

AGUJA CARBURADOR 350 K750 ZAMA

Marca

Husqvarna
11

Codigo barras

-

Código

-

Codigo fabricante

537177801

Descripcion

SELLO CARBURADOR ZAMA 350 353

Marca

Husqvarna
12

Codigo barras

-

Código

-

Codigo fabricante

503535601

Descripcion

SELLO CARBURADOR H ZAMA 435 440E 445E 450E 350 365 333R 335RX 343R 343FR

Marca

Husqvarna
19

Codigo barras

-

Código

-

Codigo fabricante

537266301

Descripcion

FLECHA ACELERADOR ZAMA 350 353

Marca

Husqvarna
21

Codigo barras

-

Código

-

Codigo fabricante

537266601

Descripcion

MARIPOSA ACELERADOR ZAMA 350 353

Marca

Husqvarna
22

Codigo barras

-

Código

-

Codigo fabricante

537176101

Descripcion

RESORTE FLECHA ACELERADOR ZAMA 350

Marca

Husqvarna
27

Codigo barras

-

Código

-

Codigo fabricante

537178501

Descripcion

ESPREA ALTA 340 345E 350 353

Marca

Husqvarna
30

Codigo barras

-

Código

-

Codigo fabricante

537267001

Descripcion

ESPREA BAJA 340 345E 350 353

Marca

Husqvarna
32

Codigo barras

-

Código

-

Codigo fabricante

503535701

Descripcion

FILTRO CARBURADOR HUSQVARNA 445 450 556 365

Marca

Husqvarna
33

Codigo barras

-

Código

-

Codigo fabricante

503481101

Descripcion

OPRESOR TORNILLO RALENTI 55 350 435 440E 450E 323L 325RX 325P5 CS2245

Marca

Husqvarna
34

Codigo barras

-

Código

-

Codigo fabricante

537177601

Descripcion

TORNILLO RALENTI CARB 340 345E 350 435 440E ZAMA

Marca

Husqvarna
37

Codigo barras

-

Código

-

Codigo fabricante

503479001

Descripcion

TORNILLO FLECHA AHOGADOR HUSQVARNA 435 445 450 556 562XP

Marca

Husqvarna
38

Codigo barras

-

Código

-

Codigo fabricante

537177501

Descripcion

PLACA FLECHA AHOGADOR ZAMA 350

Marca

Husqvarna
42

Codigo barras

-

Código

-

Codigo fabricante

503479601

Descripcion

TORNILLO TAPA SUP CARBURADOR 334 445E 450E 460 365 575XP 343R 343FR 345RX

Marca

Husqvarna
43

Codigo barras

-

Código

-

Codigo fabricante

537380301

Descripcion

KIT EMPAQUES DIAFRAGMAS 350 353 ZAMA

Marca

Husqvarna
Número IPL Descripción Foto Agregar carrito
1
CARBURADOR 345E 350
Marca: Husqvarna
Cargando..
2
TORNILLO TAPA SUP CA
Marca: Husqvarna
Cargando..
4
DIAFRAGMA 350 353 ZA
Marca: Husqvarna
Cargando..
7
MUELLE CARBURADOR ZA
Marca: Husqvarna
Cargando..
8
PERNO MUELLE CARBURA
Marca: Husqvarna
Cargando..
9
RESORTE MUELLE CARBU
Marca: Husqvarna
Cargando..
10
AGUJA CARBURADOR 350
Marca: Husqvarna
Cargando..
11
SELLO CARBURADOR ZA
Marca: Husqvarna
Cargando..
12
SELLO CARBURADOR H Z
Marca: Husqvarna
Cargando..
19
FLECHA ACELERADOR ZA
Marca: Husqvarna
Cargando..
21
MARIPOSA ACELERADOR
Marca: Husqvarna
Cargando..
22
RESORTE FLECHA ACELE
Marca: Husqvarna
Cargando..
27
ESPREA ALTA 340 345E
Marca: Husqvarna
Cargando..
30
ESPREA BAJA 340 345E
Marca: Husqvarna
Cargando..
32
FILTRO CARBURADOR HU
Marca: Husqvarna
Cargando..
33
OPRESOR TORNILLO RAL
Marca: Husqvarna
Cargando..
34
TORNILLO RALENTI CAR
Marca: Husqvarna
Cargando..
37
TORNILLO FLECHA AHOG
Marca: Husqvarna
Cargando..
38
PLACA FLECHA AHOGADO
Marca: Husqvarna
Cargando..
42
TORNILLO TAPA SUP CA
Marca: Husqvarna
Cargando..
43
KIT EMPAQUES DIAFRAG
Marca: Husqvarna
Cargando..

Otras Secciones del diagrama IPL Motosierra Husqvarna 353


Compatibles

El diagrama es compatibles con los siguientes articulos.
Fotografia Clave Articulo Estatus
Fotografia.. 353-18E MOTOSIERRA MULTIUSOS HUSQVARNA 51.7CC 3.2HP BARRA 18"

Este articulo se encuentra a la venta.

Fotografia.. 353-20E MOTOSIERRA MULTIUSOS HUSQVARNA 51.7CC 3.2HP BARRA 20"

Este articulo se encuentra a la venta.

Ayuda

Contáctanos
Horario de atencion
Lunes a Viernes de 9:00am - 6:00pm
Sabados de 9:00am - 2:00pm
WhatsApp
7712402048
Ayuda