Diagrama IPL Husqvarna T435 Rancher 35.2 CC Motosierra

Buscador interno
Busca unicamente dentro de las secciones del diagrama y se mostrará el diagrama y la sección a la que pertenece.

Sección CUBIERTA FRENO CADENA

Partes de CUBIERTA FRENO CADENA
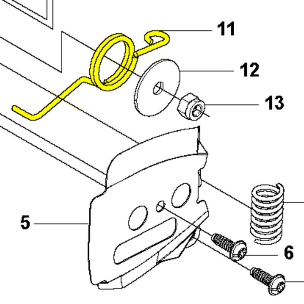
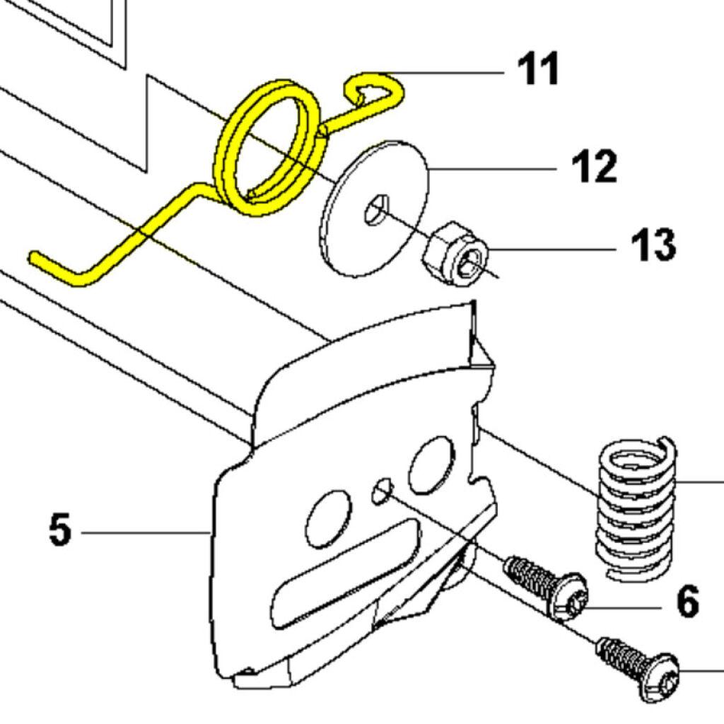
7

Codigo barras

-

Código

-

Codigo fabricante

522643201

Descripcion

RESORTE BRAZO PALANCA FRENO T435

Marca

Husqvarna
11

Codigo barras

-

Código

-

Codigo fabricante

516967401

Descripcion

RESORTE RETORNO FRENO T435

Marca

Husqvarna
16

Codigo barras

-

Código

-

Codigo fabricante

522015701

Descripcion

PALANCA FRENO T435

Marca

Husqvarna
24

Codigo barras

-

Código

-

Codigo fabricante

523080601

Descripcion

GUIA BANDA FRENO T435

Marca

Husqvarna
25

Codigo barras

7391883078174

Código

-

Codigo fabricante

503220001

Descripcion

TUERCA TAPA BARRA MOTOSIERRAS HUSQVARNA

Marca

Husqvarna
1

Codigo barras

-

Código

-

Codigo fabricante

587349201

Descripcion

TAPA BARRA T435

Marca

Husqvarna
2

Codigo barras

-

Código

-

Codigo fabricante

513637901

Descripcion

ENGRANE TENSOR CADENA T435

Marca

Husqvarna
3

Codigo barras

-

Código

-

Codigo fabricante

513730701

Descripcion

TORNILLO TENSOR CADENA T425 T435

Marca

Husqvarna
23

Codigo barras

-

Código

-

Codigo fabricante

587349601

Descripcion

BANDA FRENO T435

Marca

Husqvarna
Número IPL Descripción Foto Agregar carrito
7
RESORTE BRAZO PALANC
Marca: Husqvarna
Cargando..
11
RESORTE RETORNO FREN
Marca: Husqvarna
Cargando..
16
PALANCA FRENO T435
Marca: Husqvarna
Cargando..
24
GUIA BANDA FRENO T43
Marca: Husqvarna
Cargando..
25
TUERCA TAPA BARRA MO
Marca: Husqvarna
Cargando..
1
TAPA BARRA T435
Marca: Husqvarna
Cargando..
2
ENGRANE TENSOR CADEN
Marca: Husqvarna
Cargando..
3
TORNILLO TENSOR CADE
Marca: Husqvarna
Cargando..
23
BANDA FRENO T435
Marca: Husqvarna
Cargando..

Otras Secciones del diagrama IPL Husqvarna T435 Rancher 35.2 CC Motosierra


Compatibles

El diagrama es compatibles con los siguientes articulos.
Fotografia Clave Articulo Estatus
Fotografia.. T435-14E MOTOSIERRA HUSQVARNA T435 35.2CC BARRA ESTRELLA 14"

Este articulo se encuentra a la venta.

Ayuda

Contáctanos
Horario de atencion
Lunes a Viernes de 9:00am - 6:00pm
Sabados de 9:00am - 2:00pm
WhatsApp
7712402048
Ayuda