Diagrama IPL Desbrozadora Husqvarna 143RII

Buscador interno
Busca unicamente dentro de las secciones del diagrama y se mostrará el diagrama y la sección a la que pertenece.

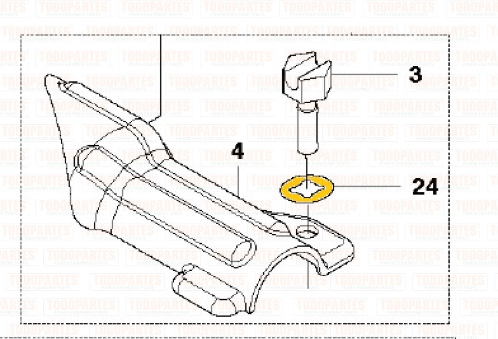
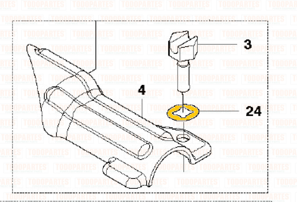
Sección CAJA ENGRANES

Partes de CAJA ENGRANES
1

Codigo barras

-

Código

-

Codigo fabricante

579076202

Descripcion

CAJA ENGRANES 143RII 236R 543RBX 553RBX

Marca

Husqvarna
3

Codigo barras

-

Código

-

Codigo fabricante

537189501

Descripcion

TORNILLO M6X20

Marca

Husqvarna
4

Codigo barras

-

Código

-

Codigo fabricante

528818501

Descripcion

ABRAZADERA PROTECTOR TRIMMER 143RII 236R 543RBX

Marca

Husqvarna
5

Codigo barras

-

Código

-

Codigo fabricante

521862001

Descripcion

TORNILLO GRASA 143RII GRANDE

Marca

Husqvarna
8

Codigo barras

-

Código

-

Codigo fabricante

516124101

Descripcion

SEGURO TAMBOR CLUTCH HUSQVARNA 226R 236R 525LST 525P5S 525PT5S

Marca

Husqvarna
11

Codigo barras

-

Código

-

Codigo fabricante

506609901

Descripcion

SEGURO BALERO CIGUEÑAL HUSQVARNA 226R 236R 525LST 525P5S 525PT5S

Marca

Husqvarna
12

Codigo barras

-

Código

-

Codigo fabricante

544362701

Descripcion

TORNILLO TAPON GRASERA 143RII 525LST

Marca

Husqvarna
16

Codigo barras

-

Código

-

Codigo fabricante

516131701

Descripcion

BALERO TAMBOR CLUTCH 143RII 236R 543RBX 553RBX

Marca

Husqvarna
17

Codigo barras

-

Código

-

Codigo fabricante

502849301

Descripcion

SEGURO TAMBOR CLUTCH 236R

Marca

Husqvarna
18

Codigo barras

-

Código

-

Codigo fabricante

521522201

Descripcion

RETEN FLECHA CAJA ENGRANES 236R EXTERIOR

Marca

Husqvarna
23

Codigo barras

-

Código

-

Codigo fabricante

575778801

Descripcion

SOPORTE TRIMMER 143RII

Marca

Husqvarna
24

Codigo barras

-

Código

-

Codigo fabricante

575677301

Descripcion

RONDANA SEGURIDAD 143RII

Marca

Husqvarna
22

Codigo barras

7391883242261

Código

502291101.

Codigo fabricante

502291101

Descripcion

TUERCA PLACA DISCO 236R 235FR 333R/RJ 335RX 535RJ/RX 343R 345RX/FX 355RX 54

Marca

Husqvarna
19

Codigo barras

-

Código

-

Codigo fabricante

528826401

Descripcion

PLACA TRIMMER 236R 143RII

Marca

Husqvarna
21

Codigo barras

-

Código

-

Codigo fabricante

511583801

Descripcion

PLACA DISCO 143RII 236R 543RBX 553RBX

Marca

Husqvarna
Número IPL Descripción Foto Agregar carrito
1
CAJA ENGRANES 143RII
Marca: Husqvarna
Cargando..
3
TORNILLO M6X20
Marca: Husqvarna
Cargando..
4
ABRAZADERA PROTECTOR
Marca: Husqvarna
Cargando..
5
TORNILLO GRASA 143RI
Marca: Husqvarna
Cargando..
8
SEGURO TAMBOR CLUTCH
Marca: Husqvarna
Cargando..
11
SEGURO BALERO CIGUEÑ
Marca: Husqvarna
Cargando..
12
TORNILLO TAPON GRASE
Marca: Husqvarna
Cargando..
16
BALERO TAMBOR CLUTCH
Marca: Husqvarna
Cargando..
17
SEGURO TAMBOR CLUTCH
Marca: Husqvarna
Cargando..
18
RETEN FLECHA CAJA EN
Marca: Husqvarna
Cargando..
23
SOPORTE TRIMMER 143R
Marca: Husqvarna
Cargando..
24
RONDANA SEGURIDAD 14
Marca: Husqvarna
Cargando..
22
TUERCA PLACA DISCO 2
Marca: Husqvarna
Cargando..
19
PLACA TRIMMER 236R 1
Marca: Husqvarna
Cargando..
21
PLACA DISCO 143RII 2
Marca: Husqvarna
Cargando..

Otras Secciones del diagrama IPL Desbrozadora Husqvarna 143RII


Compatibles

El diagrama es compatibles con los siguientes articulos.
Fotografia Clave Articulo Estatus
Fotografia.. 143RII DESBROZADORA HUSQVARNA 41.5CC 2.0HP MANERAL TUBULAR

Este articulo se encuentra a la venta.

Ayuda

Contáctanos
Horario de atencion
Lunes a Viernes de 9:00am - 6:00pm
Sabados de 9:00am - 2:00pm
WhatsApp
7712402048
Ayuda