Diagrama IPL Husqvarna 325S25 25.4 CC Fumigadora 2011-05

Buscador interno
Busca unicamente dentro de las secciones del diagrama y se mostrará el diagrama y la sección a la que pertenece.

Sección Bomba

Partes de Bomba
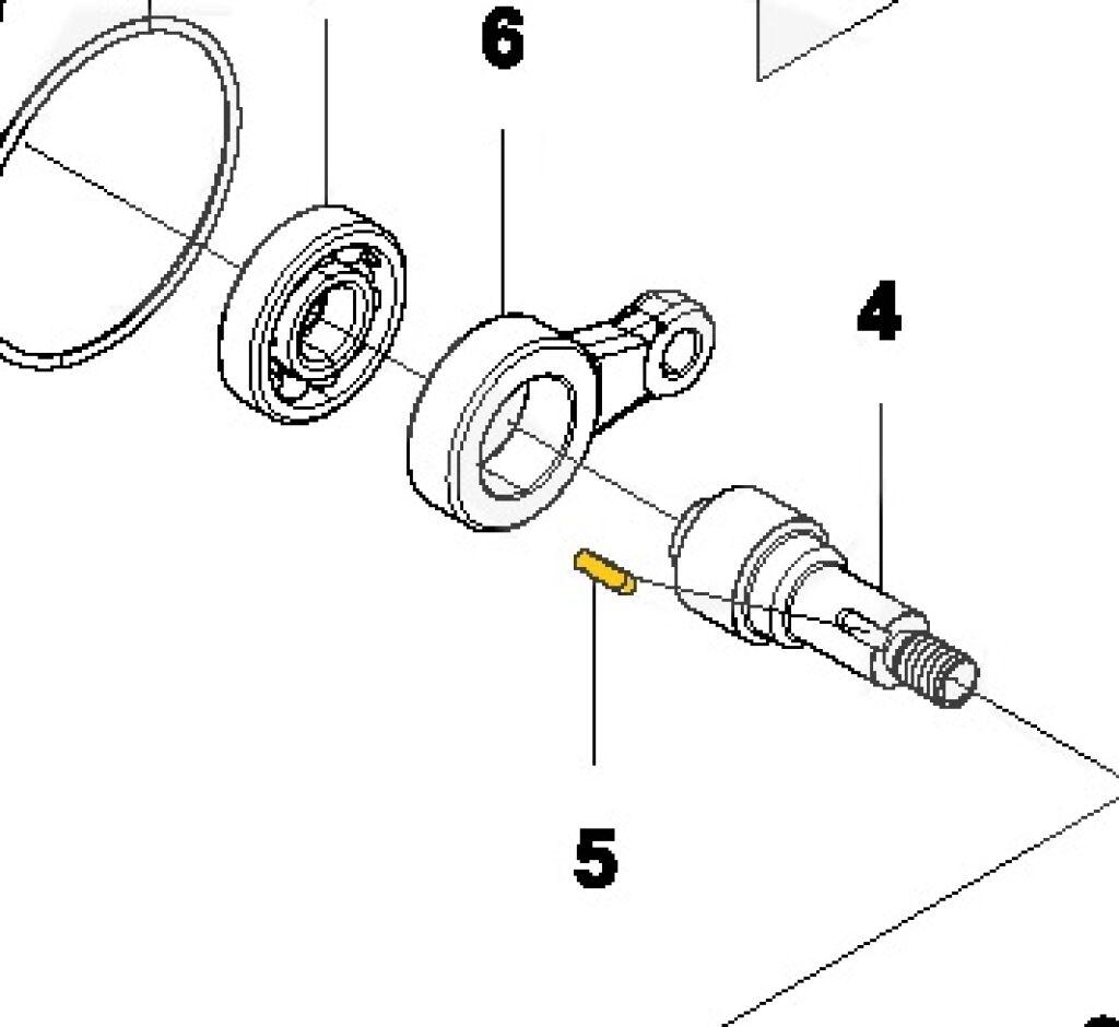
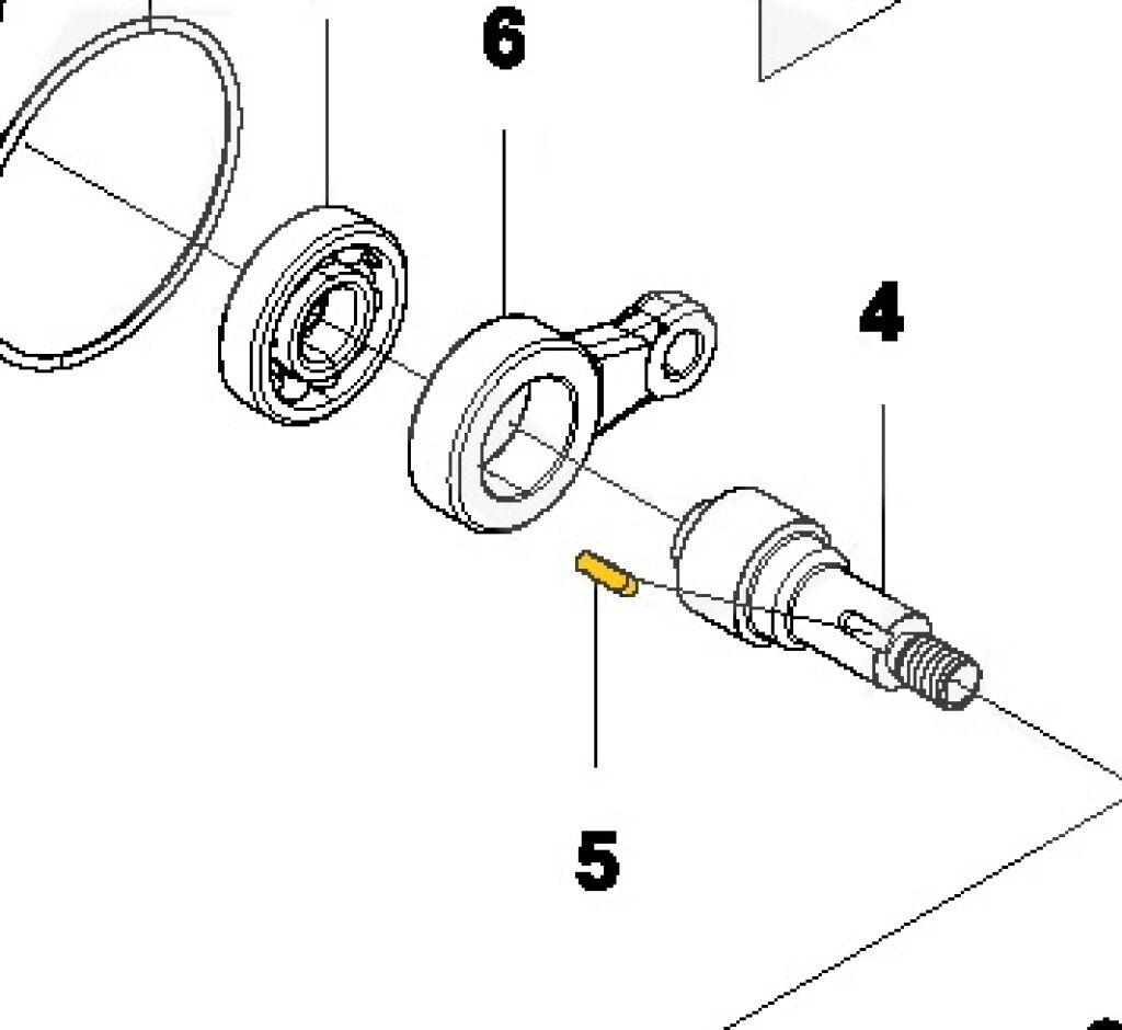
3

Codigo barras

-

Código

-

Codigo fabricante

574123201

Descripcion

BALERO CARTER BOMBA PRESION 325S25

Marca

Husqvarna
4

Codigo barras

-

Código

-

Codigo fabricante

574123301

Descripcion

CIGUEÑAL BOMBA PRESION 325S25

Marca

Husqvarna
5

Codigo barras

-

Código

-

Codigo fabricante

574123401

Descripcion

CUÑA FLECHA BIELA BOMBA PRESION 325S25

Marca

Husqvarna
6

Codigo barras

-

Código

-

Codigo fabricante

574123501

Descripcion

BIELA BOMBA PRESION 325S25

Marca

Husqvarna
7

Codigo barras

-

Código

-

Codigo fabricante

574123601

Descripcion

BALERO TAPA CARTER BOMBA PRESION 325S25

Marca

Husqvarna
8

Codigo barras

-

Código

-

Codigo fabricante

574123701

Descripcion

EMPAQUE TAPA CARTER BOMBA PRESION 325S25

Marca

Husqvarna
9

Codigo barras

-

Código

-

Codigo fabricante

574123801

Descripcion

TAPA CARTER BOMBA PRESION 325S25

Marca

Husqvarna
11

Codigo barras

-

Código

-

Codigo fabricante

574124001

Descripcion

ENGRANE TRACCION BOMBA PRESION 325S25

Marca

Husqvarna
13

Codigo barras

-

Código

-

Codigo fabricante

574124201

Descripcion

BALERO FLECHA TRACCION BOMBA PRESION 325S25

Marca

Husqvarna
14

Codigo barras

-

Código

-

Codigo fabricante

574124301

Descripcion

FLECHA TRACCION BOMBA PRESION 325S25

Marca

Husqvarna
16

Codigo barras

-

Código

-

Codigo fabricante

574124501

Descripcion

EMPAQUE CARTER BOMBA PRESION 325S25

Marca

Husqvarna
18

Codigo barras

-

Código

-

Codigo fabricante

574124701

Descripcion

RETEN FLECHA TRACCION BOMBA PRESION 325S25

Marca

Husqvarna
19

Codigo barras

-

Código

-

Codigo fabricante

574124801

Descripcion

TAPA BOMBA PRESION 325S25

Marca

Husqvarna
21

Codigo barras

-

Código

-

Codigo fabricante

574125001

Descripcion

TAMBOR CLUTCH 325S25

Marca

Husqvarna
25

Codigo barras

-

Código

-

Codigo fabricante

574125401

Descripcion

MIRILLA ACEITE 325S25

Marca

Husqvarna
29

Codigo barras

-

Código

-

Codigo fabricante

574125801

Descripcion

RETEN PISTON BOMBA PRESION 325S25

Marca

Husqvarna
30

Codigo barras

-

Código

-

Codigo fabricante

574125901

Descripcion

PISTON BOMBA PRESION 325S25

Marca

Husqvarna
31

Codigo barras

-

Código

-

Codigo fabricante

574126001

Descripcion

PERNO PISTON BOMBA PRESION 325S25

Marca

Husqvarna
33

Codigo barras

-

Código

-

Codigo fabricante

574126201

Descripcion

CILINDRO BOMBA PRESION 325S25

Marca

Husqvarna
34

Codigo barras

-

Código

-

Codigo fabricante

574126301

Descripcion

CAZUELA FLECHA BOMBA 325S25

Marca

Husqvarna
35

Codigo barras

-

Código

-

Codigo fabricante

574126401

Descripcion

SELLO INTERIOR BOMBA 325S25 KS231P KS230P

Marca

Husqvarna
36

Codigo barras

-

Código

-

Codigo fabricante

574126501

Descripcion

SELLO TENSION BOMBA 325S25

Marca

Husqvarna
37

Codigo barras

-

Código

-

Codigo fabricante

574126601

Descripcion

EMPAQUE FLECHA BOMBA 325S25

Marca

Husqvarna
38

Codigo barras

-

Código

-

Codigo fabricante

574126701

Descripcion

TAPA SELLO TENSION 325S25

Marca

Husqvarna
39

Codigo barras

-

Código

-

Codigo fabricante

574126801

Descripcion

GRASERA BOMBA 325S25<BR>

Marca

Husqvarna
41

Codigo barras

-

Código

-

Codigo fabricante

574127001

Descripcion

ASIENTO RESORTE CILINDRO BOMBA PRESION 325S25

Marca

Husqvarna
42

Codigo barras

-

Código

-

Codigo fabricante

574127101

Descripcion

RESORTE CAUCHO 325S25

Marca

Husqvarna
43

Codigo barras

-

Código

-

Codigo fabricante

574127201

Descripcion

SELLO RETEN PISTON BOMBA PRESION 325S25

Marca

Husqvarna
44

Codigo barras

-

Código

-

Codigo fabricante

574127301

Descripcion

RETEN FLECHA BOMBA 325S25

Marca

Husqvarna
45

Codigo barras

-

Código

-

Codigo fabricante

574127401

Descripcion

TORNILLO EMBOLO 325S25<BR>

Marca

Husqvarna
47

Codigo barras

-

Código

-

Codigo fabricante

574127601

Descripcion

CARTER BOMBA PRESION 325S25

Marca

Husqvarna
49

Codigo barras

-

Código

-

Codigo fabricante

574127801

Descripcion

ASIENTO VALVULA 325S25

Marca

Husqvarna
56

Codigo barras

-

Código

-

Codigo fabricante

574127901

Descripcion

JUEGO VALVULA CAMARA SUCCION BOMBA PRESION 325S25

Marca

Husqvarna
57

Codigo barras

-

Código

-

Codigo fabricante

574128001

Descripcion

CAMARA SUCCION BOMBA PRESION 325S25

Marca

Husqvarna
58

Codigo barras

-

Código

-

Codigo fabricante

574128101

Descripcion

O-RING TAPON PURGA BOMBA PRESION 325S25

Marca

Husqvarna
59

Codigo barras

-

Código

-

Codigo fabricante

574128201

Descripcion

TAPON PURGA BOMBA PRESION 325S25

Marca

Husqvarna
63

Codigo barras

-

Código

-

Codigo fabricante

574129401

Descripcion

EMPAQUE ASIENTO BOMBA PRESION 325S25

Marca

Husqvarna
64

Codigo barras

-

Código

-

Codigo fabricante

574129501

Descripcion

BOLA DE PRESIÓN 325S25

Marca

Husqvarna
65

Codigo barras

-

Código

-

Codigo fabricante

574129601

Descripcion

ASIENTO RESORTE BOMBA PRESIÓN 325S25

Marca

Husqvarna
66

Codigo barras

-

Código

-

Codigo fabricante

574129701

Descripcion

RESORTE PRESIÓN BOMBA 325S25

Marca

Husqvarna
67

Codigo barras

-

Código

-

Codigo fabricante

574129101

Descripcion

CONECTOR FLUJO BOMBA PRESION 325S25

Marca

Husqvarna
71

Codigo barras

-

Código

-

Codigo fabricante

574129901

Descripcion

FLECHA TUBO PRESION 325S25

Marca

Husqvarna
72

Codigo barras

-

Código

-

Codigo fabricante

574128601

Descripcion

TUBO REGULADOR PRESION 325S25

Marca

Husqvarna
74

Codigo barras

-

Código

-

Codigo fabricante

574128801

Descripcion

PERILLA AJUSTE PRESION 325S25

Marca

Husqvarna
76

Codigo barras

-

Código

-

Codigo fabricante

574129001

Descripcion

TORNILLO BOMBA PRESIÓN 325S25

Marca

Husqvarna
77

Codigo barras

-

Código

-

Codigo fabricante

574130001

Descripcion

CAMARA BOMBA AIRE 325S25

Marca

Husqvarna
79

Codigo barras

-

Código

-

Codigo fabricante

574130201

Descripcion

AMORTIGUADOR BOMBA PRESION 325S25

Marca

Husqvarna
46

Codigo barras

-

Código

-

Codigo fabricante

574127701

Descripcion

EMPAQUE O RING 325S25

Marca

Husqvarna
Número IPL Descripción Foto Agregar carrito
3
BALERO CARTER BOMBA
Marca: Husqvarna
Cargando..
4
CIGUEÑAL BOMBA PRESI
Marca: Husqvarna
Cargando..
5
CUÑA FLECHA BIELA BO
Marca: Husqvarna
Cargando..
6
BIELA BOMBA PRESION
Marca: Husqvarna
Cargando..
7
BALERO TAPA CARTER B
Marca: Husqvarna
Cargando..
8
EMPAQUE TAPA CARTER
Marca: Husqvarna
Cargando..
9
TAPA CARTER BOMBA PR
Marca: Husqvarna
Cargando..
11
ENGRANE TRACCION BOM
Marca: Husqvarna
Cargando..
13
BALERO FLECHA TRACCI
Marca: Husqvarna
Cargando..
14
FLECHA TRACCION BOMB
Marca: Husqvarna
Cargando..
16
EMPAQUE CARTER BOMBA
Marca: Husqvarna
Cargando..
18
RETEN FLECHA TRACCIO
Marca: Husqvarna
Cargando..
19
TAPA BOMBA PRESION 3
Marca: Husqvarna
Cargando..
21
TAMBOR CLUTCH 325S25
Marca: Husqvarna
Cargando..
25
MIRILLA ACEITE 325S2
Marca: Husqvarna
Cargando..
29
RETEN PISTON BOMBA P
Marca: Husqvarna
Cargando..
30
PISTON BOMBA PRESION
Marca: Husqvarna
Cargando..
31
PERNO PISTON BOMBA P
Marca: Husqvarna
Cargando..
33
CILINDRO BOMBA PRESI
Marca: Husqvarna
Cargando..
34
CAZUELA FLECHA BOMBA
Marca: Husqvarna
Cargando..
35
SELLO INTERIOR BOMBA
Marca: Husqvarna
Cargando..
36
SELLO TENSION BOMBA
Marca: Husqvarna
Cargando..
37
EMPAQUE FLECHA BOMBA
Marca: Husqvarna
Cargando..
38
TAPA SELLO TENSION 3
Marca: Husqvarna
Cargando..
39
GRASERA BOMBA 325S25
Marca: Husqvarna
Cargando..
41
ASIENTO RESORTE CILI
Marca: Husqvarna
Cargando..
42
RESORTE CAUCHO 325S2
Marca: Husqvarna
Cargando..
43
SELLO RETEN PISTON B
Marca: Husqvarna
Cargando..
44
RETEN FLECHA BOMBA 3
Marca: Husqvarna
Cargando..
45
TORNILLO EMBOLO 325S
Marca: Husqvarna
Cargando..
47
CARTER BOMBA PRESION
Marca: Husqvarna
Cargando..
49
ASIENTO VALVULA 325S
Marca: Husqvarna
Cargando..
56
JUEGO VALVULA CAMARA
Marca: Husqvarna
Cargando..
57
CAMARA SUCCION BOMBA
Marca: Husqvarna
Cargando..
58
O-RING TAPON PURGA B
Marca: Husqvarna
Cargando..
59
TAPON PURGA BOMBA PR
Marca: Husqvarna
Cargando..
63
EMPAQUE ASIENTO BOMB
Marca: Husqvarna
Cargando..
64
BOLA DE PRESIÓN 325S
Marca: Husqvarna
Cargando..
65
ASIENTO RESORTE BOMB
Marca: Husqvarna
Cargando..
66
RESORTE PRESIÓN BOMB
Marca: Husqvarna
Cargando..
67
CONECTOR FLUJO BOMBA
Marca: Husqvarna
Cargando..
71
FLECHA TUBO PRESION
Marca: Husqvarna
Cargando..
72
TUBO REGULADOR PRESI
Marca: Husqvarna
Cargando..
74
PERILLA AJUSTE PRESI
Marca: Husqvarna
Cargando..
76
TORNILLO BOMBA PRESI
Marca: Husqvarna
Cargando..
77
CAMARA BOMBA AIRE 32
Marca: Husqvarna
Cargando..
79
AMORTIGUADOR BOMBA P
Marca: Husqvarna
Cargando..
46
EMPAQUE O RING 325S2
Marca: Husqvarna
Cargando..

Otras Secciones del diagrama IPL Husqvarna 325S25 25.4 CC Fumigadora 2011-05


Compatibles

El diagrama es compatibles con los siguientes articulos.
Fotografia Clave Articulo Estatus
Fotografia.. 325S25 FUMIGADORA HUSQVARNA 25.4 CC 600 PSI 1 LANZA

El articulo no se encuentra a la venta.

Ayuda

Contáctanos
Horario de atencion
Lunes a Viernes de 9:00am - 6:00pm
Sabados de 9:00am - 2:00pm
WhatsApp
7712402048
Ayuda